淺談監理信息系統在危大工程管理中的應用
依據《危險性較大的分部分項工程安全管理規定》(住建部令第37號)、住房城鄉建設部辦公廳關于實施〈危險性較大的分部分項工程安全管理規定〉有關問題的通知》(建辦質[2018]31號)、《甘肅省危險性較大的分部分項工程安全管理規定實施細則》等有關規定,施工現場危險性較大的分部分項工程(以下簡稱“危大工程”)的工作管理流程,總結起來主要包括危大工程的研判識別、危大工程的方案審查(超過一定規模的危大工程專家論證)、危大工程的監理細則、危大工程實施及驗收、危大工程的監控消除等幾個方面,因此,科學合理的運用建筑工程監理信息系統,實現危大工程管理與監理信息系統的完美契合,就需要對監理信息系統在危大工程管理中的應用進行創新和優化,從而推動我國建筑事業的持續安全健康發展。本文依托某公共衛生醫療中心工程地下汽車庫、設備間及中心藥庫超過一定規模的深基坑危大工程,探討了監理信息系統在危大工程管理中的應用流程、存在的問題及建議。
一、危大工程的研判識別
1.1 工程概況
某公共衛生醫療中心工程地下汽車庫、設備間及中心藥庫(以下簡稱“本項目”)為地下一層,建筑面積6 250.00 ㎡,建筑高度5.4 m,結構形式為框架結構,依據地勘報告及施工測量,場地土自然地面南高北低,東高西低,開挖范圍內自然地面最開挖深度達7.46 m,屬于超過一定規模的深基坑危大工程范疇。本項目監理信息系統采用“監理通”建設監理企業綜合業務管理信息系統。
1.2 工程水文地質
根據本項目《巖土工程勘察報告》,本項目勘察場地判定:場地類別為Ⅱ類,中密、松散、堅硬碎石土;場地土、石分級為:①層礫砂為Ⅲ級硬土、①1層粉細砂為Ⅱ級普通土。地基承載力fak=270 kPa;彈性模量:E0=18 MPa。
本項目場地勘探深度內無地下水,可不考慮其對工程的影響,擬建場地地基土凍脹等級為Ⅰ級,凍脹類型為不凍脹,場地標準凍結深度為1.23 m。
1.3 周邊環境條件
本項目為醫療、應急、儲備、防治等配套群體建筑群,鄰近建(構)筑物的工程重要性為Ⅲ級、結構形式鋼筋混凝土框架結構,基礎形式為淺挖埋深柱下獨立基礎、無地下室,基礎埋深為-2.7 m,自然地面以上約為1.2 m,正在施工地上結構,其他無相鄰影響建筑影響基坑開挖。場區外相鄰周邊無相互影響的建設項目,場區內相鄰區域均為本次新建項目。鄰近場區周圍無國道、市政道路,場地內部及周邊未發現地下管網、通訊光纜、輸油管道等重要埋設物,場區無規劃鐵路系統通過。
1.4 危大工程研判
根據住建部令第37號文對項目深基坑工程進行風險辨識與危大工程等級確定,本項目開挖深度超過7 m,介于7~10 m之間,地質簡單,性質均勻,開挖深度范圍內未見地下水,周邊無臨近建筑或重要設施,基坑范圍內無歷史文物、地下管線等,經研判確定本項目深基坑等級為二級。
1.5 危大工程建檔
項目監理部通過認真熟悉圖紙,并將以上情況匯總整理,研判深基坑危大工程安全控制的重點和難點,及時在監理信息系統中“安全管理—危大工程監控”一欄,填報相關信息,主要包括:項目名稱、危大工程類型、分部分項工程、施工部位、計劃施工時間、本項目特征、上級監管人員、責任人、實際施工時間及告知人員等。
此外,對于超過一定規模的危大工程需要同步在“安全管理—超出一定規模的危大工程安全監控”一欄,填寫相關信息,包括了已經在危大工程監控中填報過的項目名稱、分部分項工程、計劃施工時間及本項目特征以外,還主要包括:專項施工方案的論證和修改審批情況、方案的實施和驗收情況、存在問題和整改情況、安全狀況及監控責任人等。
通過建立危大工程和超出一定規模的危大工程監控流程,將危大工程施工前的各類綜合情況匯總上傳,形成明確的監管和控制體系,便于各級監理管理人員對危大工程的相關信息進行梳理和研判,準確把握施工階段的監理控制重點、難點。危大工程管理系統流程如圖1所示。

圖1 危大工程管理系統流程圖
二、危大工程的方案審查
2.1 方案編制
在深基坑危大工程施工前,施工單位組織相關工程技術人員編制了專項施工方案,編制完成后由該企業單位技術負責人審核簽字、加蓋施工單位公章,報監理項目部總監理工程師(以下簡稱“總監”)審查簽字、加蓋執業印章后進入下一環節。依據《住房和城鄉建設部辦公廳關于印發危險性較大的分部分項工程專項施工方案編制指南的通知》(建辦質[2021]48號),深基坑危大工程專項施工方案編制主要包括工程概況、編制依據、施工計劃、施工工藝技術、施工保證措施、施工管理及作業人員配備和分工、驗收要求、應急處置措施、計算書及相關施工圖紙9個方面。經專項施工方案對邊坡穩定驗算,本項目基坑開挖按自然放坡比例1∶0.75取值。
2.2 方案審核
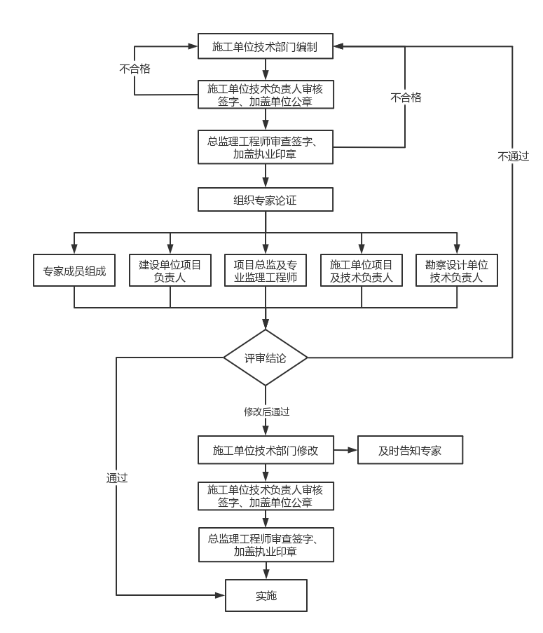
同樣,對深基坑危大工程專項方案的審查要涵蓋工程概況、編制依據、施工計劃、施工工藝技術、施工保證措施、施工管理及作業人員配備和分工、驗收要求、應急處置措施、計算書及相關施工圖紙這9個方面,并重點對施工工藝技術、施工保證措施、計算書及相關施工圖紙進行審查。可利用監理信息系統,將施工單位上報的深基坑危大工程專項施工方案電子版上傳至監理信息系統的“安全管理—安全專項方案”審查一欄,通過在線審批,完成從專業監理工程師(以下簡稱“專監”)、總監到監理單位技術負責人對方案的流程云審批程序,在方便快捷的同時也實現了方案的前期無紙化審查。專項施工方案編制、審核及論證流程如圖2所示。

圖2 專項施工方案編制、審核及論證流程圖
2.3 方案論證
對于超過一定規模的深基坑危大工程,施工單位組織召開專家論證會,邀請了5名房建市政領域的專家對專項施工方案進行論證。專家論證前,深基坑危大工程專項施工方案必須通過施工單位技術負責人審核和監理單位總監初步審查,這是一項前置程序。經過專家論證,對專項施工方案提出部分修改意見,作出修改后通過的結論意見,后期施工單位根據專家論證報告修改完善后,專項施工方案由施工單位技術負責人重新審核簽字、加蓋施工單位公章,并重新報請監理單位總監審查簽字、加蓋執業印章后付諸實施。
三、危大工程的監理細則
危大工程監理實施細則應在相應工程施工開始前由專監依據監理規劃、工程建設標準、工程設計文件、施工組織設計、(專項)施工方案等編制,并應報總監理工程師審批。深基坑危大工程監理實施細則的編制應包括專業工程特點、監理工作流程、監理工作要點、監理工作方法及措施等4個主要方面。危大工程監理實施細則主要是結合項目實際對監理規范、規程表述不具體的,進行明確和細化,對表述不完整的,予以補充完善,從而具有一定針對性和指導性,作為相關監理工作開展的依據和遵循。在專監完成監理實施細則的編制后,通過監理信息系統,將監理實施細則電子版上傳至監理信息系統的“方案管理—監理細則”一欄,啟動專項方案審批流程,由總監在審批流程中實現對監理細則的修改意見反饋,最終完成審批流程。
四、危大工程的實施與驗收
4.1 危大工程實施
深基坑危大工程的實施是施工期間的重點和關鍵,必須嚴格按照危大工程的專項施工方案和監理實施細則,對施工工藝技術和安全保證措施進行嚴格的安全巡視和安全旁站,將安全巡視和安全旁站所發現的問題,及時在監理信息系統“安全管理—安全巡視”和“安全管理—安全旁站”相應欄目中,在安全巡視中對巡視部位、巡視時間、檢查內容、檢查結果及影像資料進行記錄,在安全旁站中對旁站起止時間、現場施工情況、檢查內容、檢查結果及影像資料等進行記錄,在安全巡視和安全旁站記錄完成后,可通過監理信息系統自動生成巡視記錄表和旁站記錄表,作為監理工作安全控制的內業資料,對整個深基坑危大工程實施的全過程實行有效的事中控制。
4.2 危大工程驗收
危大工程應由施工單位、監理單位組織相關人員進行驗收,驗收合格的,經施工單位項目技術負責人及總監簽字確認后,方可進入下一道工序。在監理信息系統中,有相應的“安全管理—危險性較大工程驗收”一欄,依照具體危大工程專項施工方案中明確的驗收程序,確定驗收人員組成(建設、勘察、設計、施工、監理及監測等單位相關負責人),及時對危大工程的驗收情況和意見進行匯總整理,形成深基坑危大工程驗收表和檢查表,并在監理信息系統將驗收表和檢查表進行上傳,完善管理流程。
5 危大工程的監控及消除
深基坑危大工程除在施工過程中全過程予以監控之外,應在深基坑危大工程完成之后,及時對深基坑危大工程的監控程序進行消除,實現閉環控制管理。監理信息系統中,在“安全管理—危大工程監控”一欄中,對已處于監控狀態的危大工程,選擇“危大工程消除”,之后可以將危大工程已經完成的訊息,通過監理信息系統,逐層上報至監理單位技術負責人,便于全面動態掌握所監理項目危大工程管理狀況。
六、應用中存在的問題及建議
6.1 流程管理制度需進一步健全
例如,在超出一定規模的危大工程安全監控對于監控責任人的界定上,應該予以明確,包括驗收參加單位、驗收小組的構成、具體的驗收人員等,從而明確到底該由哪些人員來負監控責任,是應由所有參加驗收的人員來共同擔負安全監控責任,還是僅僅由常駐現場的施工單位和監理單位相關人員來擔負安全監控責任,沒有明確的制度進行約束,這就導致危大工程在驗收環節執行上,沒有一定的規范性。建議可以通過制定監理單位內部管理體系和質量管理文件的辦法,來對危大工程的驗收進行規范化指導,明確界定一般危大工程的參加驗收人員和超過一定規模的危大工程參加驗收人員范圍,以后再有相關項目直接參照執行即可。
6.2 各類驗收表格需進一步完善
在危大工程驗收中,各類驗收表格不統一,缺乏具體針對性,而且住建部令第37號文和《甘肅省危險性較大的分部分項工程安全管理規定實施細則》中也沒有相匹配的驗收表格可以參照,這就導致驗收缺乏一定的針對性和規范性,到底該驗收哪些內容無法具體明確,建議應在監理信息系統上建立監理單位內部的通用規范用表,便于監理單位內部各在建監理項目參照使用。
七、結語
綜上所述,對監理信息系統在危大工程管理中的應用予以深入全面分析,可以在很大程度上提高監理信息系統中危大工程管理的工作效率和質量,確保危大工程安全有序開展。對于一線監理人員來說,必須要熟悉掌握各個環節的監理要點和操作流程,牢固樹立安全責任意識。另外,完善的危大工程監理信息系統管理工作流程,也讓監理企業在危大工程的安全管理上有的放矢,實現了整體管控、遠程監控、后臺測控,為監理企業的發展插上了騰飛的翅膀,不斷提升和優化監理企業及人員的自身素質,從而增強監理企業的核心競爭力。
(來源:2023《建設監理》5月刊 作者:楊俊元)
下一篇: 已經是最后一篇了 上一篇: 北京:關于啟用新版二級建造師注...
相關資訊
- 億誠建設項目管理有限公司榮添市政工程監理甲級資質!
- 億誠建設監理項目榮獲“西安市2023年度第三批文明工地”榮譽稱號
- 2023年第三季度全國工程監理中標100強,億誠管理位列第66位!
- 住建部:2022年全國建設工程監理統計公報
- 陜西省建設監理協會:關于印發《陜西省專業監理工程師和監理員培訓教育實施辦法》的通知
- 浙江嘉興:10月14日起,中標后不得擅自變更項目負責人等關鍵崗位人員!每天必須人臉考勤!
- 新形勢下工程監理服務品質提升的創新與實踐
- 建筑工程監理行業建設探討
- 住建部關于《修改〈建筑工程施工發包與承包計價管理辦法〉的決定(征求意見稿)》公開征求意見的通知
- 2023年8月全國工程監理中標100強,億誠管理位列第33位!
同類文章排行
- 淺談監理信息系統在危大工程管理中的應用
- 北京:關于啟用新版二級建造師注冊證書電子證照的通知
- 陜西省住建廳:建設工程消防三項管理規定,2023年10月30日起施行
- 陜西省公路水運建設領域優化營商環境暨工程建設招標投標領域突出問題專項治理活動
- 四川:關于培育壯大建筑業企業優化資質審批有關事宜的通知(征求意見稿)
- 西安市住建局:關于2023年上半年西安市工程勘察設計質量監督檢查情況的通報
- 住房城鄉建設部建筑市場監管司關于建設工程企業資質延續有關事項的通知
- 湖北省房屋建筑和市政基礎設施工程施工過程及竣工結算辦法
- 住建部:2022年全國建設工程監理統計公報
- 西安市招標投標制度規則清理的情況公示
最新資訊文章
您的瀏覽歷史


